MI-261

Quadruplexer 1800/2100/2300/2600

The Kaelus MI-261 is a bi-directional Quadruplexer, designed to combine or split 1800/2100/2300/2600 MHz. The MI-261 provides low insertion loss and high return loss with excellent passive inter-modulation performance in an extremely small and lightweight IP67 capable package

FEATURES

  • Enables antenna & coax sharing for 1800/2100/2300/2600 MHz bands systems.
  • Compact & lightweight - perfect for Small Cell applications
  • Low insertion loss & high return loss
  • High passive IM performance
  • Single and dual models available
  • 7/16 (F) or 4.3-10 (F) connectors
  • Hard Wired and DC Autosense versions available
  • Provisions for wall or mast mounting

technical specifications
Band Name1800210023002600
Passband1710 - 1880 MHz1920 - 2170 MHz2300 - 1400 MHz2500 - 2690 MHz
Insertion loss0.2 dB typical0.2 dB typical0.2 dB typical0.2 dB typical
Return loss>18 dB>18 dB>18 dB>18 dB
Intermodulation products-160 dBc at 2 x 43dBm TX Carrier
Rejection50 dB minimum in rejections to other bands50 dB minimum in rejections to other bands50 dB minimum in rejections to other bands50 dB minimum in rejections to other bands
electrical
Impedance50 Ω
dc / aisg
For hardwired versions, DC/AISG can be fully connected (DC all) or a specific connection can be orderd (DC custom).
For DC autosense versions, the DC/AISG path is automatically selected. In bottom of the tower applications (combiner mode), each RF channel port is sequentially checked for the presence of DC voltage. If more than one port has voltage, the port that has the highest (programmed) priority is passed to the common port. If a short circuit is detected on the common port DC/AISG is disabled. In top-of-tower applications (splitter mode), DC/AISG is passed to all ports that do not present a short circuit. If a short circuit is detected, the shorted RF port will be disabled for DC/AISG while other RF ports remain connected.
Insertion loss1 dB max
Return loss12 dB min
Input voltage range8 - 30 V DC max 0.3 W
DC current rating3 A continuous, Drop max 2.4 V
Compliance3GPP TS 37.461
environmental
For further details of environmental compliance, please contact Kaelus.
Temperature range-40 ºC to +65 ºC | -40 ºF to +149 ºF
Ingress protectionIP67
Lightning protection5 kA maximum (8/20 us)
MTBF> 1,000,000 Hours
ComplianceETSI EN 300 019-1-4 class 4.1E, RoHS
mechanical
FeatureSingle MountDual Mount
Dimensions H x D x W225 x 160 x 49 mm I 8.86 x 6.30 x 1.93 in225 x 160 x 89 mm I 8.86 x 6.30 x 3.50 in
Volume1.7 l2.9 l
Weight2.8 kg I 6.2 lb4.6 kg I 10.01 lb
FinishPainted, NCS 1502-R ( Light Grey )
MountingHose clamps or wall mount ( Supporter pole Diameter: 40 - 140 mm )
FeatureSingle Mount With Auto-SenseDual Mount With Auto-Sense
Dimensions H x D x W225 x 160 x 63 mm I 8.86 x 6.30 x 2.48 in225 x 160 x 118 mm I 8.86 x 6.30 x 4.65 in
Volume1.7 l2.9 l
Weight2.9 kg I 6.2 lb4.8 kg I 10.5 llb
FinishPainted, NCS 1502-R ( Light Grey )
MountingHose clamps or wall mount ( Supporter pole Diameter: 40 - 140 mm )
ordering information
Part NumberConfigurationOptional FeaturesConnectorsDC/AISG Configuration
MI-261nSingle MountBASE MODEL7/16 (F)Refer to DC /AISG table
MI-2611nDual MountBASE MODEL7/16 (F)Refer to DC /AISG table
MI-2613nSingle MountBASE MODEL4.3-10 (F)Refer to DC /AISG table
MI-2614nDual MountBASE MODEL4.3-10 (F)Refer to DC /AISG table
DC / ASIG CONFIGURATION
MI-261nAAuto-sense
MI-261n1DC BLOCK
MI-261n2DC TO All
MI-261n3DC TO 2300 and 2600
MI-261n4DC TO 2100, 2300 and 2600
MI-261n5DC TO 2600
MI-261n6DC TO 2300
Auto-sense Priority
MI-261nA.1FPO TO 1800, 2100, 2300 and 2600
MI-261nA.2XOR TO 1800, 2100, 2300 and 2600
MI-261nA.32600 priority 1, 2300 priority 2 and 2100 priority 3 and 1800 priority 4
MI-261nA.4 1800Priority 1, 2100 Priority 2 and 2300 Priority 3 and 2600 priority 4
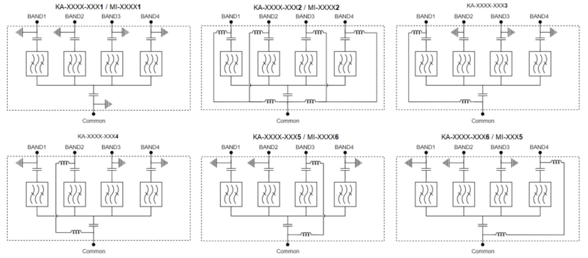
electrical block diagram
ELECTRICAL BLOCK DIAGRAM
mechanical block diagram
MECHANICAL BLOCK DIAGRAM

GET A QUOTE