MI-158

TMA TWIN 1800/2100/2600

Designed to be deployed in co-located 1800, 2100 and 2600 MHz systems with wideband antennas, this Tower Mounted Amplifier provides gain in all the bands.

FEATURES

  • Improved base station sensitivity through gain in the 1800, 2100 and 2600 uplink
  • Excellent noise figure performance
  • Full AISG operation and RET antenna support, AISG2.0 compatible
  • Small and light for minimum visual impact

technical specifications
Band Name180021002600
downlink
Passband1805 - 1880MHz2110 - 2170MHz2620 - 2690 MHz
Insertion loss0.5dB typical0.4dB typical0.4dB typical
Return loss20dB typical, 18dB minimum
Maximum input power200W (average)*200W (average)*200W (average)*
Intermodulation products-160dBc in RX band at ANT
uplink
Passband1710 - 1785MHz1920 - 1980MHz2500 - 2570MHz
Gain12dB
Return loss16dB
Bypass return loss14dB
Bypass loss2dB typical2.2dB typical2dB typical
Noise figure1.4dB typical
Output IP325dBm typical
(*) Limited to 500W (average) combined power at the common ports.
electrical
Impedance50Ohms
aisg mode of operation (auto selected on valid aisg 2.0 frames)
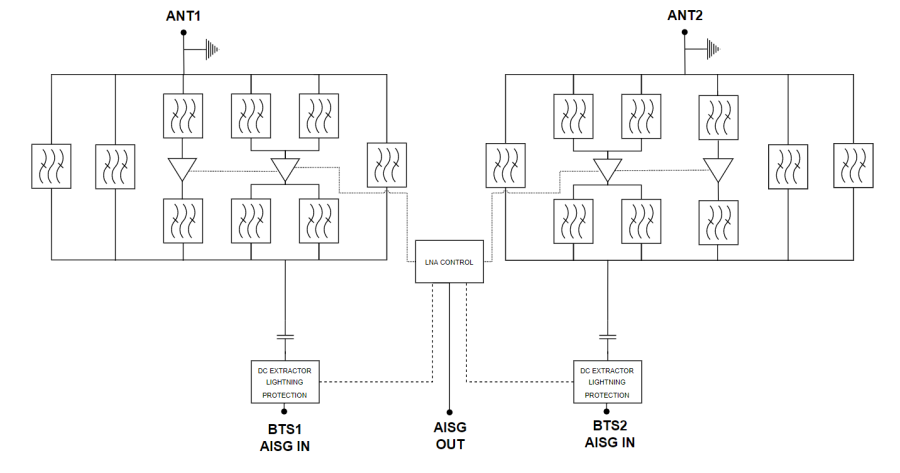
AISG signals can be applied to the BTS ports. The TMA unit switches to AISG mode when valid frames are detected on either port. Each LNA is controlled uniquely by its sub-unit number.
DC supply voltage24 V DC nominal
+9.0V to +31V DC
AISG version2.0
Power consumption, AISG mode< 4W
AISG connector, current ratingIEC60130-9, 8-pin female
environmental
For further details of environmental compliance, please contact Kaelus.
Temperature range-40ºC to +65ºC | -40°F to +155°F
Ingress protectionIP67
Lightning protectionRF: ±5kA (8/20us), AISG: ±2kA common mode (8/20us)
MTBF>1,000,000 hours
ComplianceEMC: EN 301 489-23
Safety: EN 62368-1
Operation: ETSI EN 300 019-1-4 class 4.1E
Storage: ETSI 300 019-1-1 class 1.2
mechanical
Dimensions H x D x W226 x 111 x 309mm | 8.9 x 4.37 x 12.16in (excluding brackets and connectors)
Weight10.8kg | 23.81lbs
FinishPowder coated, NCS 1502-R
MountingPole/wall bracket using two metal clamps, suits 40-140mm diameter poles
shipping information
Carton size390 x 390 x 220mm
Carton Qty / Pallet36
ordering information
Part NumberConfigurationOptional FeaturesConnectorsAISG Mode
MI-15801TWIN, 2 in / 2 outBASE MODEL7/16 (F)
1 x AISG
TWOTWO
MI-15802TWIN, 2 in / 2 outBASE MODEL7/16 (F)
1 x AISG
TRITWO
MI-15803TWIN, 2 in / 2 outBASE MODEL7/16 (F)
1 x AISG
ONETWO
MI-15806TWIN, 2 in / 2 outBASE MODEL7/16 (F)
2 x AISG
INDEPENDENT MODE
MI-15831TWIN, 2 in / 2 outBASE MODEL4.3-10 (F)
1 x AISG
TWOTWO
MI-15832TWIN, 2 in / 2 outBASE MODEL4.3-10 (F)
1 x AISG
TRITWO
MI-15833TWIN, 2 in / 2 outBASE MODEL4.3-10 (F)
1 x AISG
ONETWO
MI-15836TWIN, 2 in / 2 outBASE MODEL4.3-10 (F)
2 x AISG
INDEPENDENT MODE
Note: in the AISG mode "ONETWO " the multi band TMA is seen as 1 logic units with 2 subunits each and it is only required to connect to one of the two BTS ports. Either port can be used.
Note: in the AISG mode "TWOTWO " the multi band TMA is seen as 2 logic units with 2 subunits each and it is only required to connect to one of the two BTS ports. Either port can be used.
Note: in the AISG mode "TRITWO " the multi band TMA is seen as 3 logic units with 2 subunits each and it is only required to connect to one of the two BTS ports. Either port can be used.
electrical block diagram
ELECTRICAL BLOCK DIAGRAM
mechanical block diagram
MECHANICAL BLOCK DIAGRAM MECHANICAL BLOCK DIAGRAM

GET A QUOTE